Puzzi 4/20 ClassicPuzzi 4/30 Classic

59801210 (06/25)

59801210 (06/25)
Les denne oversettelsen av den originale driftsveiledningen før apparatet tas i bruk første gang, og følg de vedlagte sikkerhetsanvisningene. Følg anvisningene.
Oppbevar begge heftene til senere bruk eller for annen eier.
Det kan oppstå skader på apparatet og være til fare for brukeren og andre personer dersom den originale driftsveiledningen og sikkerhetsanvisningene ikke tas til følge.
Informer forhandleren umiddelbart ved ev. transportskader.
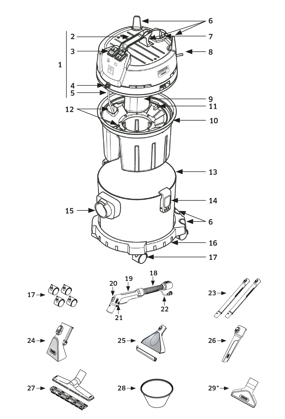
Kontroller at det ikke mangler noe tilbehør, og at innholdet i pakken er uskadet når du pakker ut.
Materialet i emballasjen kan resirkuleres. Kvitt deg med emballasjen på en miljøvennlig måte.
Elektriske og elektroniske apparater inneholder verdifulle resirkulerbare materialer og ofte deler som batterier, batteripakker eller olje. Disse kan utgjøre en potensiell fare for helse og miljø ved feil bruk eller feil avfallsbehandling. Disse delene er imidlertid nødvendige for korrekt drift av apparatet. Apparater merket med dette symbolet skal ikke kastes i husholdningsavfallet.
Aktuell informasjon om innholdsstoffene finner du på: www.kaercher.de/REACH
Ved kjøp av dette apparatet har du kjøpt en møbel- og tepperenser (tekstilrenser) for vedlikeholdsrengjøring el. grunnrengjøring av tepper med dyp rengjøringseffekt.
Harde overflater kan også rengjøres med et tilbehør for harde overflater til tekstilrens-gulvmunnstykket (inkludert).
Med passende tilbehør (inkludert) kan den også brukes som universalstøvsuger.
Flytende medier kan bare suges inn opp til en temperatur på 50 °C.
Dette apparatet er egnet for kommersiell bruk, f.eks. på hoteller, skoler, sykehus, fabrikker, butikker, kontorer og hos utleiere.

*kun Puzzi 4/30 Classic
Spesialtilbehør:
Rengjøringsprodukter for tepper og møbler
Papirfilterpose for finstøv (kun tørrstøvsuging)
| Sprøyting | |
| Suge-/blåsefunksjon | |
| Suging av store væskemengder | |
Kontroller strømledningen, skjøteledningen og slangene med hensyn til skader før hver oppstart.
Monter styrehjulene som vist på bildet.

Tekstilrens-gulvmunnstykke:
Koble sammen sugerørene og stikk dem inn på håndtaket og lås dem.

Sett Sprühex-gulvmunnstykket på sugerørene og lås det.

Sett Sprühex-tekstilmunnstykket på håndtaket og lås det.

Sett Sprühex-fugemunnstykket på håndtaket og lås det.

Fare på grunn av inntregning av finstøv/vann
Fare for skade på sugemotoren.
Apparatet må aldri brukes uten motorvernfilter.
Fare på grunn av rengjøringsløsning
Fare for materielle skader
Før du bruker apparatet må du teste fargeekthet og motstandsdyktighet mot vann på et ikke iøynefallende sted på gjenstanden som skal rengjøres.Sett sugeslangen på apparatets sugestuss. Sett sprøyteslangens kobling på apparatets sprøyteslangetilkobling og la koblingen smekke på plass.

Bruk kun tepperens fra KÄRCHER til rengjøring. Se kapittelet «Rengjøringsmidler».
Bruk tekstilrens-gulvmunnstykke uten tilbehør for harde overflater.
Bruk tekstilrens-gulvmunnstykket med tilbehør for harde overflater. Skyv tilbehøret sidelengs på tekstilrens-gulvmunnstykket. Gummileppen peker fremover, børstestripene bakover.
Når du rengjør tidligere sjamponerte tepper, genereres det skum i spillvannstanken. Skumming kan forhindres ved å tilsette skumpendende middel.
Tilsett skumdempende middel (spesialtilbehør) i spillvannstanken.
Fare på grunn av rengjøringsmidler
Fare for helseskader og materielle skader
Følg alle instruksjonene som følger med rengjøringsmidlene som brukes.Varmt vann (maks. 50 °C) øker rengjøringseffekten. Kontroller at overflaten som skal rengjøres tåler temperaturen.
Bruk rengjøringsmidler sparsomt for å beskytte miljøet.
Bland rent vann og rengjøringsmiddel i en ren beholder (konsentrasjon som spesifisert for rengjøringsmidlet). Løs rengjøringsmidlet i vannet.
Løsne apparathodet og ta det av.

Ta av ferskvannstanken.
Hell rengjøringsløsningen i ferskvannstanken. Nivået må ikke overstige "MAX"-merket.
Sett ferskvannstanken inn i spillvannstanken (retning som vist på bildet).

Sett apparathodet på spillvannstanken. Pass på at rengjøringsløsning-sugeslangen er plassert i påfyllingsåpningen på ferskvannstanken.
Lås apparathodet.
Sett strømstøpselet i en stikkontakt.

Trykk på suge-/blåsefunksjonsbryteren (posisjon I) for å slå på sugeturbinen.
Lukk sugekraftregulatoren på håndtaket helt.

Trykk på sprøytebryteren for å slå på sprøytepumpen. Kontrollampen lyser.

Trykk inn hendelen på håndtaket for å spraye på rengjøringsløsning. Det kan ta noen sekunder før rengjøringsløsningen suges inn.

For å sprøyte på store flater må du først betjene spaken på håndtaket og deretter trykke på låsetasten.

Kjør over flaten som skal rengjøres i overlappende baner. Trekk samtidig dysen bakover (ikke skyv).
Dersom spillvannstanken er full, stenger en flottør sugeåpningen og apparatet går med økt turtall. Slå av apparatet umiddelbart og tøm tanken.
Slå av apparatet ved å trykke på suge-/blåsefunksjonsbryteren og sprøytebryteren (posisjon 0, kontrollampen slukkes).

Trekk ut nettpluggen.
Fjern sugeslangen.
Løsne apparathodet og ta det av.
Ta av ferskvannstanken.
Tøm spillvannstanken.
Skyll sprøyteledningene i apparatet ved å fylle ferskvannstanken med ca. 1 liter rent vann.
Hold dysen over avløpet og slå på sprøytepumpen til det rene vannet er oppbrukt.
Tørrsuging: Ved støvsuging av finstøv anbefales det å bruke en papirfilterpose (ekstrautstyr).
Tørrsuging: Spillvannstanken og tilbehøret må være tørt, ellers kan smusset sette seg fast.
Lås opp og fjern Sprühex-gulvmunnstykket og ta det av.

Velg ønsket tilbehør og sett det på sugerørene eller rett på håndtaket.
Løsne apparathodet og ta det av.
Ta av ferskvannstanken.

Trekk papirfilterposen (ekstrautstyr) over sugestussen (innsiden) på spillvannstanken.
Sett filterkurven (ren og tørr) inn i spillvannstanken.
Sett på apparattoppen og lås den fast.
Trykk på suge-/blåsefunksjonsbryteren (posisjon I).
Gjennomfør en rengjøring.
Sett tilbehøret for harde overflater inn i gulvmunnstykket. Busten skal peke fremover.
Bruk gulvdyse uten tilbehør for harde overflater.
Aktiver sugekraftregulatoren for å justere sugekraften.
Lukk sugeregulatoren igjen etter bruk.
Filterpose må ikke brukes.
Dersom spillvannstanken er full, stenger en flottør sugeåpningen og apparatet går med økt turtall. Slå av apparatet umiddelbart og tøm tanken.
For å suge opp fuktighet eller væske fester du ønsket tilbehør på sugerørene eller direkte på håndtaket.
Trykk på suge-/blåsefunksjonsbryteren (posisjon I).
Åpne sugeregulatoren hvis store mengder vann suges inn.
Lukk sugeregulatoren igjen etter bruk.
Tøm spillvannstanken når den er full (se kapittel «Tømme spillvannstanken»).
Blåsefunksjonen muliggjør raskere tørking av f.eks. tepper og møbeltrekk.
Når du bruker blåsefunksjonen, må spillvannstanken være tom og ren, slik at det ikke blåses ut smuss.
Løsne apparathodet og ta det av.
Fjern ferskvannstanken.
Fjern sugeslangen.
Tøm og rengjør spillvannstanken.
Sett på apparattoppen og lås den fast.
Koble sugeslangen til utblåsingsåpningen på apparathodet.

Trykk på suge-/blåsefunksjonsbryteren.
Gjennomfør tørking.
Slå av apparatet ved å trykke på suge-/blåsefunksjonsbryteren og sprøytebryteren (posisjon 0, kontrollampen slukkes).
Tøm spillvannstanken når den er full (se kapittel «Tømme spillvannstanken»).

Vask godt ut av spillvannstanken med rent vann.
Koble tilbehøret fra apparatet, og ta slange, munnstykke og sugerør fra hverandre.
Eventuelt gjenværende vann kan dryppe ut.
Skyll tilbehøret enkeltvis under rennende vann og la det tørke.
Rengjør motorvernfilteret under rennende vann, la det tørke før det settes inn igjen.
Rengjør filterkurven under rennende vann og la den tørke.
La apparatet stå åpent for tørking.
Tøm ferskvannstanken.
Vask godt ut av ferskvannstanken med rent vann.
Oppbevar tilbehør som vist på bildet.

Still apparatet i et tørt rom og sikre det mot uautorisert bruk.
Sprøyt på og sug opp rengjøringsløsning i ett arbeidstrinn.
Gjentatt suging uten sprøyting forkorter tørketiden.
Påfør rengjøringsløsning når sugeturbinen er slått av, og la den virke i 10 til 15 minutter.
Rengjør området som ved vanlig tilsmussing.
Monter møbeltrekkdyse i stedet for gulvdyse (med sugerør).
Doser mindre rengjøringsmiddel når du renser ømtålige tekstiler, og hold en avstand på ca. 200 mm til overflaten når du sprøyter det på. Avslutt med kun suging.
Sprøyt sterkt tilsmussede områder på forhånd, og la rengjøringsløsningen virke i 5 til 10 minutter.
Arbeid alltid fra lys til skygge (fra vindu til dør).
Arbeid alltid fra det rensede til det urensede området.
Jo mer ømfintlig belegg (orientalske tepper, berbertepper, møbeltrekk), desto lavere konsentrasjon av rengjøringsmiddel i bruk.
Jutetepper kan krympe og misfarges hvis de blir for våte.
Børst tepper med lang lugg i luggretningen i våt tilstand etter rengjøringen (f.eks. med en teppebørste eller skurekost).
Impregnering etter våtrengjøringen forhindrer at tekstiloverflaten blir raskt tilsmusset igjen.
For å unngå avtrykk eller rustflekker, må du la rengjorte overflater få tørke helt før du går på teppet eller setter møbler på plass igjen.
For å forbedre rengjøringsresultatet skyller du gjenstanden med rent vann etter bruk av rengjøringsmidler.
Betegnelse | Navn | Dosering av RM | Bestillingsnummer |
|---|---|---|---|
CarpetPro rengjøringsmiddel (0,8 kg) | RM 760 pulver | 1 % | 6.295-849.0 |
CarpetPro-rengjøringsmiddel, iCapsol (16 stk) | RM 760 tabletter | 2 tabs til 8 liter | 6.295-850.0 |
CarpetPro-rengjøringsmiddel, hurtig tørking (10 liter) | RM 767 flytende | 1,2 % | 6.295-198.0 |
CarpetPro rengjøringsmiddel (10 liter) | RM 764 flytende | 1 % | 6.295-854.0 |
CarpetPro impregnering (5 liter) | RM 762 flytende | 20 % | 6.295-852.0 |
Avskumming (2,5 liter) | RM 761 flytende | 0,5 % | 6.291-389.0 |
For nærmere informasjon kan du rekvirere produktinformasjonsbladet og EU-sikkerhetsdatabladet for det aktuelle rengjøringsmidlet.
Ved ignorering av vekten
Fare for personskader og materielle skader
Ta hensyn til apparatets vekt under transport.Bær apparatet ved å holde i bærehåndtaket.
Sikre apparatet iht. gjeldende retningslinjer for transport, slik at det ikke kan skli eller velte.
Ved ignorering av vekten
Fare for personskader og materielle skader
Ta hensyn til apparatets vekt ved lagring.Apparatet skal kun oppbevares innendørs.
Oppbevar apparatet fortrinnsvis med rent (ferskt) vann i pumpesystemet, spesielt over en lengre tidsperiode.
Fare for elektrisk støt
Personskader forårsaket av berøring av strømførende deler
Slå av apparatet.Trekk ut strømstøpselet.Løsne apparathodet og ta det av.
Løsne kabelstripsene som vist på bildet og fjern motorvernfilteret.

Rengjør motorvernfilteret under rennende vann og la det tørke.
Fest motorvernfilteret med kabelstrips til sugekanalen på apparathodet. Pass på at lukkingen til kabelstripsen er på motsatt side av sugestussen.
Løsne apparathodet og ta det av.
Fjern filterkurven fra den spillvannstanken.

Rengjør filterkurven under rennende vann og la den tørke.
Hvis sprøytestrålen er ujevn, kan dysemunnstykket (vaske- og sugetilbehør) være tilstoppet av rester og må rengjøres.
Rengjøring av Sprühex-gulvmunnstykket eller Sprühex-tekstildysen: Løsne dysefestet ved å dreie det, og trekk det ut sammen med dysemunnstykket.
Oppbevar O-ringen/tetningsringen trygt og skift dem etter rengjøring.

Fjern rester i dysemunnstykket under rennende vann.
Sett dysemunnstykket inn i dysefestet og drei for å feste det igjen.
Fare for elektrisk støt
Personskader forårsaket av berøring av strømførende deler
Slå av apparatet.Trekk ut strømstøpselet.Apparatet fungerer ikke
Tiltak:
Kontroller stikkontakten og sikringen for strømforsyningen.
Kontroller strømledningen og støpselet til apparatet.
Sett inn nettpluggen.
Slå på apparatet.
Overoppvarmingsbeskyttelsen er utløst. La apparatet avkjøles.
Det kommer ikke vann ut av munnstykket
Tiltak:
Fyll opp ferskvannstanken.
Kontroller at koblingene på sprøyteslangen sitter riktig.
Rengjør eller skift ut dysemunnstykket.
Kontroller at ferskvannstanken sitter korrekt.
Kontroller at rengjøringsløsningens sugeslange er riktig posisjonert i ferskvannstanken.
Rengjør filteret på rengjøringsløsningens sugeslange.
Sprøytepumpe defekt, kontakt kundeservice.
Sprøytestråle bare på den ene siden
Tiltak:
Rengjør dysemunnstykket.
Utilstrekkelig sugekraft
Tiltak:
Kontroller at apparathodet sitter korrekt på spillvannstanken.
Rengjør tetningen på apparathodet og kontaktflaten på spillvannstanken.
Lukk sugekraftregulatoren på håndtaket.
Rengjør motorvernfilteret.
Rengjør filterkurven.
Skift papirfilterpose.
Sjekk om tilbehøret, sugeslangen eller sugerørene er blokkert, rengjør om nødvendig.
Tøm spillvannstanken.
Støy fra sprøytepumpe
Tiltak:
Fyll på ferskvannstanken.
Kraftig skumming i spillvannstanken
Tiltak:
Tilsett skumdempende middel (spesialtilbehør) i spillvannstanken.
Dersom feilen ikke kan utbedres, må apparatet kontrolleres av kundeservice.
Apparatet fungerer ikke
Tiltak:
Kontroller stikkontakten og sikringen for strømforsyningen.
Kontroller strømledningen og støpselet til apparatet.
Sett inn nettpluggen.
Slå på apparatet.
Overoppvarmingsbeskyttelsen er utløst. La apparatet avkjøles.
Det kommer ikke vann ut av munnstykket
Tiltak:
Fyll opp ferskvannstanken.
Kontroller at koblingene på sprøyteslangen sitter riktig.
Rengjør eller skift ut dysemunnstykket.
Kontroller at ferskvannstanken sitter korrekt.
Kontroller at rengjøringsløsningens sugeslange er riktig posisjonert i ferskvannstanken.
Rengjør filteret på rengjøringsløsningens sugeslange.
Sprøytepumpe defekt, kontakt kundeservice.
Sprøytestråle bare på den ene siden
Tiltak:
Rengjør dysemunnstykket.
Utilstrekkelig sugekraft
Tiltak:
Kontroller at apparathodet sitter korrekt på spillvannstanken.
Rengjør tetningen på apparathodet og kontaktflaten på spillvannstanken.
Lukk sugekraftregulatoren på håndtaket.
Rengjør motorvernfilteret.
Rengjør filterkurven.
Skift papirfilterpose.
Sjekk om tilbehøret, sugeslangen eller sugerørene er blokkert, rengjør om nødvendig.
Tøm spillvannstanken.
Støy fra sprøytepumpe
Tiltak:
Fyll på ferskvannstanken.
Kraftig skumming i spillvannstanken
Tiltak:
Tilsett skumdempende middel (spesialtilbehør) i spillvannstanken.
Vår ansvarlige salgsorganisasjon for de enkelte land har utgitt garantibetingelsene som gjelder i det aktuelle landet. Eventuelle feil på apparatet repareres gratis i garantitiden dersom disse kan føres tilbake til material- eller produksjonsfeil. Ved behov for garantireparasjoner bes du henvende deg til din forhandler eller nærmeste autoriserte kundeservice og fremvise kjøpskvitteringen.
For mer informasjon, se: www.kaercher.com/dealersearch
Videre garantiinformasjon (hvis tilgjengelig) finner du i serviceområdet på ditt lokale Kärcher-nettsted under "Nedlastinger".
Bruk bare originalt tilbehør og originale reservedeler; de garanterer for en sikker og problemfri drift av apparatet.
Informasjon om tilbehør og reservedeler finner du på www.kaercher.com.
Vi erklærer herved at maskinen beskrevet nedenfor på grunn av design og konstruksjon, samt i versjonen som vi har markedsført, oppfyller de relevante grunnleggende helse- og sikkerhetskravene i EU-direktivene. Endringer på maskinen uten avtale med oss, gjør at denne erklæringen blir ugyldig.
Produkt: Sprayekstraksjonmaskin
Type: 1.100-xxx
Gjeldende EU-direktiver2006/42/EF (+2009/127/EF)
2011/65/EU
2014/30/EU
Anvendte harmoniserte standarderEN IEC 63000: 2018
EN 55014-1: 2017 + A11: 2020
EN 55014-2: 2015
EN 60335-1
EN 60335-2-68
EN 60335-2-69
EN 61000-3-2: 2014
EN 61000-3-3: 2013
EN 62233: 2008
Anvendte nasjonale standarder-
Undertegnede handler på vegne av og med fullmakt fra styret.

Dokumentasjonsfullmektig:
S. Reiser
Alfred Kärcher SE & Co. KG
Alfred-Kärcher-Str. 28 - 40
71364 Winnenden (Germany)
Tlf.: +49 7195 14-0
Faks: +49 7195 14-2212
Winnenden, 2021/10/01
Elektrisk tilkobling | |
Nettspenning | 220-240 V |
Fase | 1 ~ |
Nettfrekvens | 50-60 Hz |
Beskyttelsesgrad | IPX4 |
Beskyttelsesklasse | II ![]() |
Ytelse (maks.) | 1025 W |
Nettsikring (treg) | 10 A |
Effektspesifikasjoner apparat | |
Innhold i beholderen | 20 l |
Kapasitet ferkvann | 4 l |
Kapasitet spillvann | 8 l |
Luftmengde (maks.) | 31 l/s |
Vakuum (maks.) | 17,0 (170) kPa (mbar) |
Sprøytetrykk (maks.) | 0,28 MPa |
Sprøytemengde | 1,0 l/min |
Overtrykk (blåsefunksjon) | 8,5 (85) kPa (mbar) |
Temperatur på rengjøringsløsning (maks.) | 50 °C |
Mål og vekt | |
Gjennomsnittlig driftsvekt | 8,0 kg |
Lengde x bredde x høyde | 339 x 373 x 524 mm |
Diameter sugeslange | 35 mm |
Omgivelsesbetingelser | |
Omgivelsestemperatur (maks.) | +40 °C |
Registrerte verdier iht. EN 60335-2-68 | |
Lydeffektnivå LWA + usikkerhet K | 90 dB(A) |
Lydtrykknivå LpA | 73 dB(A) |
Hånd-arm-vibrasjonsverdi | <2,5 m/s2 |
Nettledning | |
Type nettkabel | H05VV-F 2x1,0 mm2 |
Delenummer (EU) | 9.384-374.0 |
Kabellengde | 5,0 m |
Elektrisk tilkobling | |
Nettspenning | 220-240 V |
Fase | 1 ~ |
Nettfrekvens | 50-60 Hz |
Beskyttelsesgrad | IPX4 |
Beskyttelsesklasse | II ![]() |
Ytelse (maks.) | 1025 W |
Nettsikring (treg) | 10 A |
Effektspesifikasjoner apparat | |
Innhold i beholderen | 30 l |
Kapasitet ferkvann | 4 l |
Kapasitet spillvann | 18 l |
Luftmengde (maks.) | 31 l/s |
Vakuum (maks.) | 17,0 (170) kPa (mbar) |
Sprøytetrykk (maks.) | 0,28 MPa |
Sprøytemengde | 1,0 l/min |
Overtrykk (blåsefunksjon) | 8,5 (85) kPa (mbar) |
Temperatur på rengjøringsløsning (maks.) | 50 °C |
Mål og vekt | |
Gjennomsnittlig driftsvekt | 8,6 kg |
Lengde x bredde x høyde | 339 x 373 x 667 mm |
Diameter sugeslange | 35 mm |
Omgivelsesbetingelser | |
Omgivelsestemperatur (maks.) | +40 °C |
Registrerte verdier iht. EN 60335-2-68 | |
Lydeffektnivå LWA + usikkerhet K | 90 dB(A) |
Lydtrykknivå LpA | 73 dB(A) |
Hånd-arm-vibrasjonsverdi | <2,5 m/s2 |
Nettledning | |
Type nettkabel | H05VV-F 2x1,0 mm2 |
Delenummer (EU) | 9.384-374.0 |
Kabellengde | 5,0 m |
