IVM 40/24-2 H ACD Lp

99911350 (10/25)

99911350 (10/25)
Cihazınızın ilk kullanımdan önce bu orijinal kullanım kılavuzunu okuyun, bu kullanım kılavuzuna göre hareket edin ve kullanım kılavuzunu daha sonra kullanım veya cihazın sonraki sahipleri için saklayın.
İşletime almadan önce, 5.956-249.0 numaralı güvenlik bilgilerini mutlaka okuyun.
İşletim kılavuzu ve güvenlik bilgilerine uyulmaması, kullanıcı ve diğer kişiler için tehlikeli durumların oluşmasına ve cihazın hasar görmesine yol açabilir.
Taşıma hasarları varsa hemen bayiyi bilgilendirin.
Ağır bedensel yaralanmalar ya da ölüme neden olan direkt bir tehlikeye yönelik uyarı.
Ağır bedensel yaralanmalar ya da ölüme neden olabilecek olası tehlikeli bir duruma yönelik uyarı.
Hafif yaralanmalara neden olabilecek olası tehlikeli bir duruma yönelik uyarı.
Maddi hasarlara neden olabilecek olası tehlikeli bir duruma yönelik uyarı.
Çekilen malzemenin güvenli bir şekilde imha edilmesi de dahil olmak üzere, cihazın ve kullanılacak maddelerin kullanımı sadece eğitimli personel tarafından gerçekleştirilmelidir.
Atık hava odaya geri gönderilirse odada yeterli hava değişim oranı L olmalıdır. Talep edilen sınır değerlerine uymak için, geri verilen hacim akışı temiz hava hacmi akışının maks. %50'sine (oda hacmi VR x hava değişim oranı LW) tekabül etmelidir. Özel havalandırma önlemi olmadan şunlar geçerlidir: LW= 1 sa-1.
Bu cihaz, sağlığa zararlı toz içerir. Toz toplama torbasının bertaraf edilmesi de dahil olmak üzere boşaltma ve bakım işlemleri, sadece uygun koruyucu ekipman giyen yetkili kişiler tarafından gerçekleştirilmelidir.
Cihazı, yalnızca tam filtreleme sistemi ile kullanın.
Kullanılacak malzemeler için geçerli olan ilgili güvenlik yönetmeliklerini dikkate alın.
Farklı yanıcı tozların aynı anda toplama kabında toplanması yangına veya patlamaya neden olabilir.
Cihazı toz veya gaz patlaması riski bulunan alanlarda kurmamalı ve işletmemelisiniz. Cihazın içinde toz patlama riski olan bir ortama yalnızca filtrenin önünde izin verilir. Cihaz içinde gaz patlama riski olan ortamlar yasaktır.
Cihaz, yanıcı sıvıların (67/548/AET tehlikeli maddeler direktifine göre tutuşabilen, kolay tutuşabilen ve yüksek tutuşabilen) (parlama noktası 55 °C'nin altında) ayrıca yanıcı sıvılar ile yanıcı tozların karışımlarının emilmesi veya çekilmesi için uygun değildir.
Cihaz, aşırı derecede düşük minimum tutuşma enerjisine (ME <1 mJ) sahip, örneğin: Toner, ıslanabilir sülfür, alüminyum tozu, kurşun asidi gibi tozların emilmesi için uygun değildir.
Cihaz, kızdırma sıcaklığı ≤ 190 °C olan ateşleme kaynaklarının ve tozların emilmesi için uygun değildir.
Her işletmeye almadan önce, potansiyel dengeleme iletkenlerinin (topraklama iletkenleri) bağlı olup olmadığını kontrol edin.
Cihazı, ıslak koşullarda açık havada kullanmayın veya depolamayın.
Cihazın sabit şekilde durması için yürütme tekerleklerinde bulunan park frenini etkinleştirin. Park freni çözülü durumdayken cihaz kontrolsüz biçimde hareket edebilir.
Uzun işletim molalarında ve kullanımdan sonra cihazı, cihaz şalterinden kapatın ve şebeke fişini çıkarın.
Cihazı sadece iç mekanlarda kullanın.
Ezilme tehlikesi! Emme kafasını, filtre ünitesini veya toplama kabını sökerken veya takarken eldiven giyin.
Hasar tehlikesi! Hasarlı filtreyle veya filtresiz asla süpürmeyin.
Cihazı kullanırken güvenlik ayakkabısı giyin.
Cihazı, yalnızca yürüme hızında ve yokuş aşağı yollarda gerekirse iki kişi hareket ettirin.
Aksesuar parçalarını değiştirirken dışarı toz sızmamasına dikkat edin.
Normal işletim sırasında yüzey sıcaklıkları 135 °C'ye kadar yükselebilir.
Vakum hortumu ünitesini bükmekten kaçının.
Hortumlarda düzenli olarak görsel kontrol yapın.
Cihaz sadece bir elektrik teknisyeni tarafından IEC 60364-1 uyarınca düzenlenmiş olan bir elektrik bağlantısına takılmalıdır. Bağlantı değerleri için bkz.Teknik veriler ve tip levhası.
Elektrik çarpması nedeniyle tehlike
Hayati tehlike
Örn. üzerinden geçerek, ezerek veya çekiştirerek elektrik bağlantı kablolarına zarar vermeyin.Kabloları aşırı sıcaktan, yağdan veya keskin kenarlardan koruyun.Her işletimden önce cihazın şebeke bağlantı hattını kontrol edin. Kablosu hasarlı cihazı işletime almayın. Hasar görmüş bir kablonun uzman bir elektrik teknisyeni tarafından değiştirilmesini sağlayın.Kısa devre veya başka elektrik arızalarında yaralanma ve hasar tehlikesi
Elektrik çarpması riski, yanma riski
Cihazı kapatın ve elektrik fişini çıkartın.Filtre kırılması / sızıntısı durumunda yapılması gerekenler:
Cihazı hemen kapatın.
Cihaz, bundan sonra işletilmemelidir.
Filtreyi değiştirin.
Cihazın uygun olduğu kullanım alanları:
Zemin ve duvar yüzeylerinin kuru temizliği
Biriken kuru, yanıcı, sağlığa zararlı tozların vakumlanması; EN 60335‑2‑69 uyarınca H toz sınıfı
Patlayıcı olmayan maddelerin emilimi
Tüm toz patlama sınıflarının yanıcı tozlarının emilimi (minimum ateşleme enerjisi ME < 1 mJ) olan tozlar hariç)
Tozların ve kaba kirlerin emilimi
Cihaz, patlama tehlikesi olan alanların dışına kurulursa, yanıcı tozların bölge 22'den emilimi
Ticari kullanım, örn. oteller, okullar, hastaneler, fabrikalar, dükkanlar, bürolar ve kiralık dükkanları.
Endüstriyel kullanım, örn.depolama ve üretim alanlarında
Cihazın kurulum yerinde sınıflandırılmış bir Ex bölgesi varsa buna uygun bir Ex cihazı kullanılmalıdır.
Cihazın sorunsuz fonksiyonu sadece DN40 ve DN50 nominal vakum hortumu genişlikleriyle sağlanır.
Bunları dışındaki herhangi bir kullanım, amacına uygun olmayan kullanım olarak değerlendirilecektir.
Cihaz aşağıdaki işlemler için uygun değildir:
Yanma sıcaklığı ≤ 190 °C olan ateşleme kaynaklarının ve tozun vakumlanması
Al ve Mg tozlarının vakumlanması
Yanıcı sıvıların (67/548/AET tehlikeli maddeler direktifine göre tutuşkan, kolay tutuşkan ve yüksek tutuşkan) (parlama noktası 55 °C'nin altında) ve yanıcı tozlarla yanıcı sıvıların karışımının emilmesi
Magnezyum tozu veya tozunun vakumlanması
Yanıcı sıvılar ve yanıcı toz karışımlarının vakumlanması
Parlayan veya sıcak parçacıkların vakumlanması, aksi takdirde yangın veya patlamaya neden olabilir
Sıvıların vakumlanması
Paketleme malzemeleri geri dönüştürülebilir. Lütfen ambalajları çevreye zarar vermeden bertaraf edin.
Elektrikli ve elektronik cihazlar, değerli ve geri dönüştürülebilir malzemelerin yanı sıra yanlış kullanılması veya yanlış bertaraf edilmesi durumunda insan sağlığı ve çevre için potansiyel tehlike teşkil edebilecek piller, aküler veya yağlar içerebilir. Ancak cihazın usulüne uygun şekilde çalıştırılması için bu parçalar gereklidir. Bu simge ile işaretlenen cihazlar evsel çöp ile birlikte bertaraf edilmemelidir.
İçerik maddelerine yönelik güncel bilgiler için bkz.: www.kaercher.de/REACH
Onaylanmayan aksesuar nedeniyle patlama riski
Yalnızca üretici tarafından onaylanmış ve 22 modeliyle kullanım için Ex yapıştırıcı ile işaretlenmiş aksesuarı kullanın.Sadece orijinal aksesuarlar ve orijinal yedek parçalar kullanın. Bu parçalar cihazın güvenli ve arızasız işletilmesini sağlar.
Aksesuarlar ve yedek parçalara ilişkin bilgiler için adres: www.kaercher.com.
Teslimat kapsamına herhangi bir aksesuar dahil değildir. Aksesuarlar uygulamaya bağlı olarak ayrıca sipariş edilmelidir.
Ambalaj açıldığında içindeki parçalarda eksiklik olup olmadığını kontrol edin. Nakliye hasarı söz konusuysa lütfen bayinize haber verin.


Cihaz H toz sınıfına kadar olan tozları vakumlamak için uygundur.
UYARI: Bu cihaz, sağlığa zararlı tozlar içerir. Toz torbasının çıkarılması da dahil olmak üzere boşaltma ve bakım işlemleri, sadece uygun kişisel koruyucu ekipman giyen yetkili kişiler tarafından yapılmalıdır. Filtre sistemi tamamen takılmadan ve hacim akışı kontrolünün fonksiyonu kontrol edilmeden çalıştırmayın.

Cihaz, yanıcı tozların vakumlanması, bölge 22 dışında kurulum için uygundur.
UYARI: Bu cihaz herhangi bir 22. bölgeye kurulmamalıdır. 22 numaralı bir bölge mevcutsa bir Ex cihazı kullanılmalıdır.

Etiket, kullanılan emme hortumu kesitine göre maksimum negatif basınç değerlerini gösterir. Gerçek değer manometreden okunabilir. Bu cihaz için geçerli olan değerler için bkz. Bölüm Minimum hacimsel akışı okuyun. Bu değerin altına düşülürse filtre temizlenmeli (bkz. Bölüm Ana filtrenin temizlenmesi) veya değiştirilmelidir (bkz. Bölüm Ana filtrenin değiştirilmesi). Farklı emme hortumu kesitleri, aksesuarların farklı bağlantı kesitlerine uyum sağlamasını mümkün kılar.
![]() | Atık hortumu (Sipariş No. 9.990-261.0) |
![]() | Ana filtre (Sipariş No. 9.990-222.0) |
![]() | H14 filtresi (Sipariş No. 9.993-005.0) |
Yanlış bağlanmış eş potansiyel eşitleme hattı
Elektrik çarpması
Her işletime almadan önce, potansiyel eşitleme hattı (topraklama hattı) bağlı olup olmadığını kontrol edin.Sağlığa zararlı toz nedeniyle tehlike
Tozun solunması, solunum yolu hastalıklarına sebep olabilir.
Filtre elemanı olmadan emme işlemi yapmayın; aksi halde artan ince toz emisyonu nedeniyle sağlık tehlikesi oluşur.Eksik filtre elemanı
Vakum motorunda hasar
Filtre elemanı olmadan süpürmeyin.Şebeke empedansının aşılması
Kısa devre sonucu elektrik çarpması
Elektrik bağlantı noktasındaki izin verilen maksimum şebeke empedansı (teknik verilere bakınız) aşılmamalıdır.Bağlantı noktasında mevcut şebeke empedansı hakkında bir belirsizlik mevcut olması halinde lütfen elektrik tedarik şirketiniz ile irtibata geçin.Cihazı çalışma pozisyonuna getirin.
Cihazı sabitleme frenleriyle emniyete alın.
Emme kafasının doğru şekilde takılı olduğundan emin olun.
Vakum hortumunu (teslimat kapsamında değildir) vakum bağlantısına takın.
Atık hortumunun doğru takıldığından emin olun (bkz. Bölüm Atık hortumunun takılması).
İmha sisteminin doğru kullanıldığından emin olun (bkz. Bölüm Tasfiye sisteminin takılması).
Arzu ettiğiniz aksesuarı (teslimat kapsamına dahil değildir) vakum hortumuna takın.
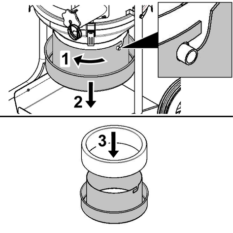
Atık hortumunun 4 halkasını da çıkarın (uzunluk 22 m).

Yuvayı sola çevirerek açın ve aşağı doğru çekin.
Atık hortumunu takın.
Yuvayı takın ve sağa çevirerek kapatın.

Atık hortumunu 40-50 cm aşağı çekin.
Atık hortumunun ucunu kablo bağıyla kapatın.
Cihaz H toz sınıfına kadar ince tozu vakumlamak için uygundur.
Sağlığa zararlı toz nedeniyle tehlike
Tozun solunması, solunum yolu hastalıklarına sebep olabilir.
Filtre elemanı olmadan emme işlemi yapmayın; aksi halde artan ince toz emisyonu nedeniyle sağlık tehlikesi oluşur.İnce tozun girmesi sonucu tehlike
Emme motorunda hasar tehlikesi mevcuttur.
Emme işlemi sırasında filtre elemanını asla çıkarmayın.Şebeke fişini prize takın.
Cihazı, vakum türbini cihaz şalterlerinden açın.
Vakum türbinlerini daima birbiri ardına açıp kapatın. Minimum hacim akışının izlenmesi adına manometrenin doğru çalışması için tüm vakum türbinleri açık olmalıdır.
Vakumlama işlemini başlatın.
Vakum işlemini gerçekleştirin.
Vakumlama malzemesi, cihaz kapatılana kadar atık hortumuna düşmez.
Atık hortumunun doluluk seviyesini düzenli olarak kontrol edin, aksi takdirde cihaz otomatik olarak kapatılmaz.

Vakumlama malzemesi hafifse veya tıkanma söz konusuysa çıkıştaki klapeyi açmak için kabloyu dışarı çekin (sadece cihaz kapalıyken mümkündür).
Atık hortumunu biraz aşağı çekin.
Atık hortumunu 10 cm mesafede 2 kablo bağı ile kapatın.
Atık hortumunu kablo bağları arasında kesin.
İmha torbasını yasal düzenlemelere uygun şekilde bertaraf edin.
Hafif vakumlama malzemesi söz konusuysa atık torbasının uzunluğu, torba yırtılmadan 2 m'ye kadar çıkabilir.
Cihazın ön tarafında, cihazın içerisindeki emme vakumunu gösteren bir manometre bulunmaktadır. Maksimum vakuma (tabloya bakın) ulaşılırsa ana filtre temizlenmelidir (bkz. Bölüm Ana filtrenin temizlenmesi). Bu değer, cihazın performansına ve kullanılan vakum hortumuna bağlıdır. Vakum temizlik nedeniyle önemli ölçüde azalmazsa filtrenin değiştirilmesi gerekir (bkz. Bölüm Ana filtrenin değiştirilmesi).
Maksimum vakum aşılıyor
Emme kaybı
Belirtilen değer aşılırsa vakum hortumundaki hava hızı 20 m/s değerinin altına düşer. Filtreyi temizleyin veya değiştirin.Emme hortumu nominal genişliği | Maksimum vakum |
|---|---|
DN40 | 13,15 kPa (131,5 mbar) |
DN50 | 10,0 kPa (100 mbar) |
DN70 | --- |
Manometre maksimum vakumu gösteriyorsa (bkz. Bölüm Minimum hacimsel akışı okuyun) ana filtre temizlenmelidir.

Vakum işlemi sırasında giriş açıklığını veya vakum hortumunu kapatın.
Filtre temizleme sisteminin klapesini 3-4 kez çekin ve her seferinde 1-2 saniye boyunca açık tutun.
Cihazı vakum türbini cihaz şalterlerinden kapatın.
Elektrik fişini çıkartın.
Yaralanma tehlikesi
Cildin, ciğerlerin ve gözlerin çok ince tozlar sebebiyle hasar görmesi
Emme hortumunu çıkardıktan sonra vakum bağlantısı, sızdırmazlık tapasıyla kapatılmalıdır.Vakum hortumunu çıkarın.

Sızdırmazlık tapasını vakum bağlantısına tam olarak yerleştirin.
Sızdırmaz tapasını sonuna kadar itin.
Kapatma tapasını, vakum bağlantısı sıkıca kapanana kadar sağa çevirin.
Cihazı sabitleme frenleriyle emniyete alın.

Filtre halkasındaki kilitleri açın ve imha sistemini önden çıkarın.
Atık suların uygun olmayan bertarafı
Çevre kirliliği
Atık suların arıtılmasına yönelik yerel yönetmelikleri dikkate alın.Cihazı, içten ve dıştan süpürerek ve nemli bir bezle silerek temizleyin.
Cihaz süpürülürken aynı veya daha iyi sınıflandırmaya sahip bir elektrikli süpürge kullanılmalıdır.
Aksesuarları (teslimat kapsamına dahil değildir) gerekirse suyla yıkayın ve kurutun.
İmha sisteminin yerleştirilmesi
Ezilme tehlikesi
Kilitleme sırasında ellerinizi kesinlikle imha sistemi ile ara halka arasına koymayın.İmha sistemini takın ve filtre halkası üzerindeki kilitlerle sabitleyin.
Şebeke kablosunu kablo tutucunun etrafına sarın.
Cihazı kuru bir odada muhafaza edin ve izinsiz kullanıma karşı emniyete alın.
Ağırlığın dikkate alınmaması
Yaralanma ve zarar görme tehlikesi mevcuttur
Taşıma sırasında cihazın ağırlığını dikkate alın.Tozsuz bir taşıma için vakum bağlantısını kapatın (bkz. Bölüm Emme girişinin kapatılması).
Sabitleme frenlerini serbest bırakın ve cihazı itme kolundan itin.
Cihazı yüklemek için şasiden ve itme kolundan tutun.
Cihazı taşıt içerisinde taşırken, kayma ve devrilmeye karşı emniyete alın.
Ağırlığın dikkate alınmaması
Yaralanma ve zarar görme tehlikesi mevcuttur
Depolama sırasında cihazın ağırlığına dikkat edin.Cihazı sadece iç mekanlarda yataklayın.
İstenmeden çalışmaya başlayan cihaz, akım ileten parçalarla temas
Yaralanma tehlikesi, elektrik çarpması
Cihazdaki çalışmalardan önce cihazı kapatın.Şebeke fişini çekin.Sağlığa zararlı toz nedeniyle tehlike
Tozun solunması, solunum yolu hastalıklarına sebep olabilir.
Bakım çalışmaları sırasında (ör. filtre değişimi), P2 veya daha kaliteli bir solunum cihazı ve tek kullanımlık giysi kullanılmalıdır.Yetersiz filtreleme
Tozun solunması, solunum yolu hastalıklarına sebep olabilir.
Cihaz filtrasyonunun etkinliği, EN 60 335-2-69 22.AA.201.2 içerisinde belirtilen test metodu ile test edilebilir. Bu test, ulusal gerekliliklerde belirtildiği takdirde, en az yıllık olarak veya daha sık yapılmalıdır.Test sonucu negatifse testi yeni bir filtre ile tekrarlayın.Alternatif olarak H filtresini yılda bir kez değiştirin.Sağlığa zararlı toz nedeniyle tehlike
Tozun solunması, solunum yolu hastalıklarına sebep olabilir.Tehlikelerin önlenmesine yönelik güvenlik cihazlarının güvenlik açısından sorunsuz şekilde çalışıp çalışmadığı, yılda en az bir kez üretici veya eğitimli bir personel tarafından kontrol edilmelidir; ör. cihazın sızdırmazlığı, filtrede hasar olup olmadığı, kontrol cihazlarının işlevi.Silikon içeren bakım ürünleri
Plastik parçalar hasar görebilir.
Temizlik için silikon içeren bakım ürünleri kullanmayın.Toz giderme makineleri, DGUV yönetmeliğince tehlikelerin önlenmesi veya ortadan kaldırılmasına yönelik güvenlik düzenekleridir:
Bakım kullanıcı tarafından gerçekleştirilirken, cihazın, servis personeli veya diğer kişiler için tehlike oluşturmadan sökülmesi, temizlenmesi ve bakımının yapılması gerekir. Uygun önlemler arasında, sökme işleminden önce detoksifikasyon, cihazın söküleceği yerlerde filtrelenmiş cebri havalandırma sağlanması, bakım alanlarının temizliği ve personelin uygun bir şekilde korunması bulunmaktadır.
Cihazın dış kısmı vakumla temizleme ve silme yoluyla temizlenmeli veya tehlikeli bölgeden çıkarılmadan önce mühürleme işleminden geçirilmelidir. Tehlikeli alanın dışına çıkarıldığında tüm teçhizat kirlenmiş sayılmalıdır. Toz dağılımını önlemek için uygun tedbirler alınmalıdır.
Bakım ve onarım çalışmalarını gerçekleştirirken tatmin edici bir şekilde temizlenemeyen kirlenmiş maddeler atılmalıdır. Bu tür maddeler, atıkların bertaraf edilmesine yönelik yürürlükteki yönetmeliklere uygun olarak geçirimsiz torbalara koyulmalıdır.
Cihazın taşınması ve bakımı sırasında vakum bağlantı ağzı tapalar ile kapatılmalıdır.
Basit bakım ve koruma çalışmalarını kendiniz yapabilirsiniz.
Cihaz yüzeyi ve hazne iç kısmını, nemli bir bezle düzenli olarak temizleyin.
Hortumlarda tıkanıklık olup olmadığını düzenli olarak görsel kontrol edin.
Kaza önlemeye yönelik yasa koyucunun geçerli ulusal yönetmelikleri doğrultusunda cihazın düzenli kontrollerinin yapılmasını sağlayın. Bakım çalışmalarının, üretici bilgileri doğrultusunda düzenli zaman aralıklarıyla yetkili personel tarafından uygulanması gerekir, bu kapsamda mevcut yönetmelikler ve güvenlik gereksinimleri dikkate alınmalıdır. Elektrik tesisatındaki çalışmalar sadece elektrik uzmanı tarafından uygulanabilir. Sorularınızda lütfen KÄRCHER şubesine başvurunuz.
Sağlığa zararlı toz nedeniyle tehlike
Tozun solunması, solunum yolu hastalıklarına sebep olabilir.
Oluşan toz, toz geçirmeyen hazneler içinde taşınmalıdır. Başka yere doldurmaya izin verilmez. Toz toplama haznesi sadece bu konuda bilgilendirilmiş kişiler tarafından imha edilebilir.Sağlığa zararlı toz nedeniyle tehlike
Tozun solunması, solunum yolu hastalıklarına sebep olabilir.
Ana filtre elemanını cihazdan çıkarttıktan sonra artık kullanmayın.Sabit takılı filtreler sadece uygun alanlarda (örn. dekontaminasyon istasyonlarında) uzman bir kişi tarafından değiştirilebilir.
Cihazı sabitleme frenleriyle emniyete alın.
Cihazı cihaz şalterlerinden kapatın.
Elektrik fişini çıkartın.
Emme kafasının kilidini açın ve emme kafasını çıkarın.
Ara halkanın kilidini açın ve ara halkayı çıkarın.
Kirlenen ana filtreyi çıkarın.
Kirlenen ana filtreyi cihazdan çıkardıktan hemen sonra bir torbaya koyun ve torbayı sıkıca kapatın.
Kirlenen ana filtreyi yasal gereklilikler uyarınca imha edin.
Contada hasar olup olmadığını kontrol edin.
Temiz hava tarafındaki kiri temizleyin.
Yeni filtreyi işlemleri ters sırada takip ederek yerleştirin. Filtre tutucunun filtre ceplerinin içinde ortalanmış olduğuna emin olun.
Ara halkayı yerleştirin ve kilitleyin.
Emme kafasını takın ve kilitleyin.
Cihazı sabitleme frenleriyle emniyete alın.
Cihazı cihaz şalterlerinden kapatın.
Elektrik fişini çıkartın.

Vakum kafasının kilidini açın ve vakum kafasını kaldırın.
Vakum kafasındaki vakum hortumunu gevşetin ve vakum kafasını çıkarın.
Altıgen vidayı uygun bir aletle saat yönünün tersine çevirerek çıkarın.
Contaları ve kirlenmiş H filtresini vakum kafasından çıkarın.
Kirlenen H filtreyi cihazdan çıkardıktan hemen sonra bir torbaya koyun ve torbayı sıkıca kapatın.
Kirlenen H filtreyi yasal gereklilikler uyarınca imha edin.
Temiz hava tarafındaki kiri temizleyin.
Yeni H filtreyi işlemleri ters sırada takip ederek yerleştirin. Contaların ve vakum hortumunun yerine doğru şekilde oturduğundan emin olun.
İstenmeyen herhangi bir gevşemeyi önlemek için altıgen vidanın dişine uygun bir madde (örn. Loctite 243) sürün.
Altıgen vidayı saat yönünde sıkın.
Emme kafasını takın ve kilitleyin.
Cihazın istem dışı başlatılması / elektrik çarpması
Vakum motorunun istem dışı çalışması yaralanmalara yol açabilir. Elektrikli parçalar üzerindeki gerilim, elektrik çarpmasına yol açabilir.
Cihazdaki bütün çalışmalardan önce cihazı kapatın ve şebeke fişini çekin.Elektrikli parçalardaki tüm kontrol ve çalışmaları bir uzmana yaptırın.Bir arıza oluşursa cihaz, derhal kapatılmalıdır. Yeniden işletime alınmadan önce, arıza giderilmelidir.
Arızanın giderilememesi durumunda, cihaz müşteri hizmetleri tarafından kontrol edilmelidir.
Emme türbini çalışmıyor
Giderme:
Prizi ve akım beslemesinin güvenliğini kontrol edin.
Şebeke kablosunu ve cihazın şebeke fişini kontrol edin.
Cihazı açın.
Vakum gücü düşüyor
Giderme:
Vakum memesi, vakum borusu veya vakum hortumundaki tıkanıklıkları giderin.
Vakum kafasının ve tasfiye sisteminin doğru şekilde yerleştirildiğini kontrol edin.
Ana filtreyi temizleyin (bkz. Bölüm Ana filtrenin temizlenmesi).
Filtrenin yerine doğru bir şekilde oturup oturmadığını kontrol edin ve gerekirse filtreyi düzeltin.
Ana filtreyi değiştirin (bkz. Bölüm Ana filtrenin değiştirilmesi).
Vakum sırasında toz çıkışı
Giderme:
Filtrenin yerine doğru bir şekilde oturup oturmadığını kontrol edin ve gerekirse filtreyi düzeltin.
Ana filtreyi temizleyin (bkz. Bölüm Ana filtrenin temizlenmesi).
Ana filtreyi değiştirin (bkz. Bölüm Ana filtrenin değiştirilmesi).
Cihaz, kullanım ömrünün sonunda yasal düzenlemelere uygun şekilde bertaraf edilmelidir.
Her ülkede yetkili distribütörümüz tarafından verilmiş garanti şartları geçerlidir. Garanti süresi içerisinde cihazınızda oluşabilecek hasarları, üretim veya malzeme hatasından kaynaklanıyorlarsa ücretsiz olarak gideriyoruz. Garanti durumunda satış faturası ile satıcınıza veya size en yakın yetkili servise başvurun.
Daha fazla bilgiyi şu adreste bulabilirsiniz: www.kaercher.com/dealersearch
Daha ayrıntılı garanti bilgilerini (varsa) yerel Kärcher web sitenizin servis bölümünde “İndirilenilen Dokümanlar” altında bulabilirsiniz.
Elektrik bağlantısı | |
Şebeke gerilimi | 220-240 V |
Faz | 1 ~ |
Şebeke frekansı | 50-60 Hz |
Nominal güç | 2100 W |
Maksimum güç | 2300 W |
Koruma türü | IPX4 |
Koruma sınıfı | I* |
İzin verilen maksimum şebeke empedansı | 0.224+j0.140 Ω |
Boyutlar ve ağırlıklar | |
Tipik işletim ağırlığı | 53 kg |
Uzunluk x genişlik x yükseklik | 680 x 655 x 1435 mm |
Etkili ana filtre yüzeyi | 1,5 m2 |
Etkili H filtre yüzeyi | 1,6 m2 |
Ortam koşulları | |
Depolama sıcaklığı | -10-40 °C |
Cihaz performans verileri | |
Hazne hacmi | 40 l |
Vakum (maks.) | 19,4 kPa |
DN50 vakum hortumu ile maksimum debi, L = 3 m | 245 m3/h |
DN40 vakum hortumu ile maksimum debi, L = 3 m | 210 m3/h |
DN50 vakum hortumu ile maksimum debi, L = 5 m | 230 m3/h |
DN40 vakum hortumu ile maksimum debi, L = 5 m | 195 m3/h |
Vakum hortumu bağlantısı | DN70 |
Emme hortumu nominal genişliği | DN40/50 |
Ana filtre sipariş numarası | 9.990-222.0 |
H filtre sipariş numarası | 9.993-005.0 |
EN 60335-2-69 uyarınca tespit edilen değerler | |
El-kol titreşim değeri | <2,5 m/s2 |
Belirsizlik K | 1 m/s2 |
Ses basınç seviyesi LpA | 77 dB(A) |
Belirsizlik KpA | 2 dB(A) |
Şebeke kablosu | |
Tip | H07RN-F 3G1,5 mm2 |
Parça numarası | 6.650-035.0 |
Kablo uzunluğu | 10 m |
Aşağıda belirtilen ürünün, açıklanmış olan yönerge ve yönetmeliklerin ilgili hükümlerine uygun olduğunu beyan ederiz. Bizim onayımız olmadan makinede yapılan bir değişiklik durumunda, bu beyan geçerliliğini kaybeder. Bu Uygunluk Beyanı'nı yayınlamanın tek sorumluluğu üreticiye aittir.
Ürün: Kuru elektrikli süpürge
Ürün: Islak ve kuru elektrikli süpürge
Tip: 9.989-xxx
Tip: 9.990-xxx
Tip: 9.991-xxx
Yönergeler ve yönetmelikler2006/42/AT (+2009/127/AT)
2014/30/AB
2011/65/AB
Uygulanan uyumlaştırılmış normlarEN 60335-1
EN 60335-2-69
EN 55014-1: 2017 + A11: 2020
EN 55014-2: 2015
EN IEC 61000-3-2: 2019
EN 61000-3-11: 2000
EN 62233: 2008
EN IEC 63000: 2018
İsim ve adresDokümantasyon yetkilisi:
A. Haag
Kärcher Industrial Vacuuming GmbH
Robert-Bosch-Straße 4-8
73550 Waldstetten (Germany)
Tel.: +49 7171 94888-0
Faks: +49 7171 94888-528

Waldstetten, 25/07/01
Aşağıda imzası olan, yönetim adına ve yönetim yetkisine sahip olarak hareket eder.
Kärcher Endüstriyel Vakumlama GmbH
Robert-Bosch-Straße 4-8
73550 Waldstetten (Germany)
Tel.: +49 7171 94888-0
Faks: +49 7171 94888-528

2-2-HC-A5-GS-awx2508